|
|
|
| Qualitative identification of sandstone water flooded layer by conventional logging curves |
| Xue-Juan ZHU1, Xin-Min GE2, Xue KONG1, Rui-Xiang ZHANG1 |
1. Department of Oil & Gas Engineering, Shengli Institute of China University of Petroleum, Dongying 257000,China; 2. School of Geosciences, Ching University of Petroleum, Qingdao 266580, China |
|
|
|
|
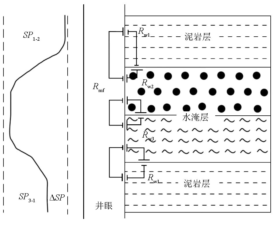
Abstract The typical characteristics of the waterflooded layer are the reduction of oil-gas saturation and the change of conductivity of the mixed formation water. The higher the degree of flooding, the lower the resistivity of the formation water flooded and sewage flooded reservoirs; the resistivity will first decrease and then increase, presenting a "U" or even "S" shape change of freshwater flooded reservoirs. And the changes in the conductivity of mixed formation water will inevitably lead to changes in spontaneous potential, resulting in the abnormal amplitude changes, the abnormal positive and negative inversion, and the baseline shift. On the basis of the typical characteristics of the known flooded layer on the conventional logging curves, a comprehensive analysis of the logging curves can be used to identify the unknown flooded layer, or the logging data can be used to construct a transaction map todetermine the flooded layer.
|
|
Received: 24 April 2018
Published: 19 December 2018
|
|
|
|
|
|
| [1] |
韩晓梅 . 南堡油田高柳地区水淹层测井评价方法[D].青岛:中国石油大学( 华东), 2011.
|
| [2] |
雍世和, 张超谟 . 测井数据处理与综合解释[M]. 东营: 中国石油大学出版社, 2007: 357-380.
|
| [3] |
王敏 . 大庆L地区水潘层测井评价方法研究[D]. 荆州:长江大学, 2011.
|
| [4] |
田彦玲 . 特高含水期厚油层水淹层电阻率模型研究[D]. 大庆:大庆石油学院, 2009.
|
| [5] |
杨景强, 卢艳, 马宏宇 , 等. 水淹层地层水电阻率变化规律研究[J]. 测井技术, 2006,30(3):195-197.
|
| [6] |
朱学娟, 单沙沙 . 不同注水开发阶段水淹层混合地层水电阻率计算方法[J]. 地质与资源, 2017,26(6):620-624.
|
| [7] |
朱学娟, 刘凤, 张瑞香 . 水淹层岩石物理特征变化规律研究[J]. 中国石油大学胜利学院学报, 2015,29(4):15-18.
|
| [8] |
袁伟, 张占松, 吕洪志 , 等. 水淹层混合液地层水电阻率的计算方法[J]. 石油天然气学报, 2014,36(9):78-83.
|
| [9] |
李桢, 骆淼, 杨曦 , 等. 水淹层测井解释方法综述[J]. 工程地球物理学报, 2006,3(4):288-294.
|
| [10] |
黄玉珍, 寇小攀, 金韦华 . 基于常规测井的水淹层识别方法研究[J]. 石化技术, 2016,39(6):170-171.
|
| [11] |
魏晓娥 . 低渗透油藏水淹层识别及水驱规律研究[D]. 西安:西北大学, 2017.
|
| [12] |
严燕飞, 尹有华, 黄馨谊 . 基于常规测井资料的水淹层定性识别研究[J]. 西部探矿工程, 2016,29(4):54-57.
|
| [13] |
谭锋奇, 李洪奇, 武鑫 , 等. 砾岩油藏水淹层定量识别方法—以新疆克拉玛依油田六中区克下组为例[J]. 石油与天然气地质, 2010,31(2):232-239.
|
| [14] |
张斌成, 石晓燕, 刘瑛 , 等. 水淹层测井综合解释及水淹特性研究[J]. 测井技术, 2005,29(6):545-547.
|
| [15] |
李坤 . 新老测井技术在老油田水淹层评价中的综合应用[D]. 荆州:长江大学, 2017.
|
|
|
|