E-mail Alert Rss
 

物探与化探, 2025, 49(2): 404-410 doi: 10.11720/wtyht.2025.1300

方法研究信息处理仪器研制

最小均值交叉熵的时频峰值滤波在探地雷达信号去噪中的应用

郑伟,1, 田仁飞,1, 高雨含1, 武斌2

1.成都理工大学 地球物理学院,四川 成都 610059

2.四川省地球物理调查研究所,四川 成都 610072

Application of time-frequency peak filtering with minimum mean cross-entropy in ground penetrating radar signal denoising

ZHENG Wei,1, TIAN Ren-Fei,1, GAO Yu-Han1, WU Bin2

1. College of Geophysics, Chengdu University of Technology, Chengdu 610059, China

2. Sichuan Geophysical Survey and Research Institute, Chengdu 610072, China

通讯作者: 田仁飞(1983-),男,副教授,主要从事地球物理信号处理、综合地球物理勘探等方面的研究工作。Email:tianrenfei08@cdut.cn

第一作者: 郑伟(1999-),男,硕士,主要研究方向为工程物探。Email:1131270650@qq.com

责任编辑: 沈效群

收稿日期: 2024-07-18   修回日期: 2024-11-22  

基金资助: 国家自然科学基金项目(41304080)

Received: 2024-07-18   Revised: 2024-11-22  

摘要

在探地雷达的实际探测作业中,环境噪声与仪器误差等不利因素常导致信号中混杂大量噪声,严重削弱了信号品质及分析结果的可信度。鉴于此,提出了一种融合最小均值交叉熵的时频峰值滤波方法(TFPF-MMCE)用于探地雷达信号的去噪处理。该方法将时频峰值滤波技术与交叉熵函数相结合,通过精准优化信号的时频表征,实现了对噪声的有效抑制与有效信号的精准保留,从而显著提升了探地雷达信号的质量。通过数值模拟与实地探地雷达实验验证,TFPF-MMCE具有很好的噪声去除能力,能够有效去除信号中的随机噪声,显著提升了信号的清晰度与可靠性。相较于传统的去噪方法,TFPF-MMCE在去噪效果与抗噪稳定性上均展现出显著优势,预示着其在探地雷达信号处理领域的广泛应用前景与重要实践价值。

关键词: 探地雷达; 最小均值交叉熵; 去噪; 时频峰值滤波; 时频分析

Abstract

In practical detection operations using ground-penetrating radar (GPR), factors such as environmental noise and instrument errors frequently cause signals to be mixed with substantial noise, seriously reducing signal quality and the reliability of analytical results. To address this issue, this study proposed a time-frequency peak filtering method combined with minimum mean cross-entropy (TFPF-MMCE) for denoising GPR signals. This method combined time-frequency peak filtering with the cross-entropy function, enabling effective noise suppression and precise preservation of valid signals through precise optimization of the time-frequency representation, thereby significantly improving the quality of GPR signals. Numerical simulation and field GPR experiments validated that the TFPF-MMCE method exhibited a high noise removal capability and, thus, can effectively eliminate random noise while significantly improving signal clarity and reliability. Compared to traditional denoising methods, TFPF-MMCE shows significant advantages in denoising effectiveness and noise resistance stability, suggesting promising application potential and practical value in the field of GPR signal processing.

Keywords: ground penetrating radar; minimum mean cross-entropy; denoising; time-frequency peak filtering; time-frequency analysis

PDF (4113KB) 元数据 多维度评价 相关文章 导出 EndNote| Ris| Bibtex  收藏本文

本文引用格式

郑伟, 田仁飞, 高雨含, 武斌. 最小均值交叉熵的时频峰值滤波在探地雷达信号去噪中的应用[J]. 物探与化探, 2025, 49(2): 404-410 doi:10.11720/wtyht.2025.1300

ZHENG Wei, TIAN Ren-Fei, GAO Yu-Han, WU Bin. Application of time-frequency peak filtering with minimum mean cross-entropy in ground penetrating radar signal denoising[J]. Geophysical and Geochemical Exploration, 2025, 49(2): 404-410 doi:10.11720/wtyht.2025.1300

0 引言

探地雷达(GPR)作为一种非破坏性检测技术,在地质勘探、工程检测及隧道超前预报等领域中得到了广泛应用。GPR通过向地下发射高频电磁波并接收其反射信号,实现对地下介质分布和结构特征的探测[1]。然而,在实际探测过程中,GPR信号常受到环境噪声、仪器误差及地下介质复杂性的影响,导致接收到的信号混杂大量噪声,严重削弱了信号品质及后续分析结果的可靠性[2]。因此,如何有效去除GPR信号中的噪声,提高信号质量,成为GPR技术发展中亟待解决的问题。

传统的信号去噪方法,例如低通滤波及其变体[3-4]、小波变换[5-7]、时频域滤波[8-9]等方法,在处理平稳信号时表现出良好的性能,但在处理非平稳、多分量且频谱重叠的GPR信号时往往难以达到理想的去噪效果。近年来,深度学习[10]和时频峰值滤波[11]等应用于信号去噪也成为研究热点,且能够显著提升信号去噪的有效性和可靠性。特别是时频峰值滤波(time-frequency peak filtering, TFPF)技术,因其能够有效估计信号的瞬时频率并抑制噪声,在地震信号去噪领域得到了广泛应用[12-14]。TFPF技术通过将含噪声信号编码为频率调制解析信号的瞬时频率,利用时频分布的峰值来估计有效信号,能够在不假设波形条件下恢复出具有任意瞬时频率规律的非平稳信号和多分量信号,有效抑制随机噪声[15]。传统TFPF方法是基于伪Wigner-Ville分布实现的,本文称之为TFPF-PWV(time-frequency peak filtering based on the pseudo-wigner-ville)。TFPF-PWV技术虽有效,但仍存在局限性:滤波参数依赖经验,去噪效果易受噪声类型影响;统一窗口长度导致高频信号的振幅损失;仅处理一维信号,忽略了信号的时空特性,可能使信号扭曲而部分失真。

为了解决TFPF-PWV技术的局限性,本文提出了基于最小均值交叉熵(minimum mean cross-entropy, MMCE)的时频峰值滤波方法(TFPF-MMCE),用于探地雷达信号去噪。MMCE通过优化整合多频谱图的信息,形成最接近原始信号的正时频分布[16-19]。Moca等[20]通过多种时频分析方法对比分析,认为MMCE通过优化参数选择,可获得相当清晰的信号表示,适用于多种振动等信号分析。因此,将交叉熵函数引入到时频峰值滤波中,最小化预测信号与原始信号差异,提升去噪效果,使滤波后的信号更接近于原始纯净信号。

本文详细讨论了TFPF-MMCE方法原理、关键技术步骤及实现过程,通过模拟和实测探地雷达数据验证了其有效性。与传统的TFPF-PWV方法对比,TFPF-MMCE在不同信噪比下,均方根误差(RMSE)和峰值信噪比(PSNR)指标均证实其去噪效果更优。最后,探讨了TFPF-MMCE在地下空洞探测应用中的优势,为解决探地雷达信号去噪提供了新思路,具有广泛的应用前景和实践价值。

1 方法原理

1.1 时频峰值滤波技术

时频峰值滤波技术是一种基于瞬时频率估计的非平稳信号去噪方法,将含噪声信号编码为频率调制解析信号并提取其瞬时频率,通过时频分布的峰值来估计有效信号。此方法无需假设波形,即可恢复出具有任意瞬时频率规律的非平稳及多分量信号,从而有效抑制噪声。

假设探地雷达接收到的含噪声信号模型为:

s(t)=x(t)+n(t),

式中:x(t)表示不含噪声的纯净信号;n(t)表示随机噪音;s(t)是混合后的含噪信号;t表示时间。时频峰值滤波的第一步是通过频率调制技术[12],将含噪信号s(t)转换为一个解析信号z(t),其形式如下

z(t)=exp(j2πμ0ts(τ)dτ),

式中:μ类似于频率调制指数,用于控制调制的灵敏度;τ为时间延迟。

接下来,利用伪维格纳-维利分布来计算解析信号z(t)的瞬时频率:

PWV(t,f)=-h(τ)z(t+τ/2)z*·(t-τ/2)e-j2πfτdτ,

式中:h(τ)是一个随时间滑动的窗函数;z*z共轭函数;f为频率。伪维格纳-维利分布是一种双线性时频表示方法,能够同时提供信号在时间和频率上的高分辨率信息。该方法可以利用时频分析工具箱中的tfrpwv函数来实现。

最后,通过寻找时频分布中的峰值,可以估计出信号的瞬时频率,其表达式为

x^(t)=argmaxf[PWV(t,f)]/μ

利用式(3)计算探地雷达信号的时频分布,并根据式(4)确定的瞬时频率最大值来估计有效信号,进而重构出纯净信号x(t),这一过程构成了传统的TFPF技术核心。由于该技术依据信号的瞬时频率特性进行去噪,它能够在频谱发生重叠时有效地分离出有效信号和噪声,即便在较低信噪比条件下也能实现高效去噪,显著突出有效信号。

1.2 最小均值交叉熵

交叉熵在信息论中用于衡量两个概率分布之间的差异,交叉熵函数通过最小化预测分布与真实分布之间的差异来优化模型参数。最小交叉熵已被广泛应用于平稳和非平稳谱分析中,以寻找最优的谱密度函数。Loughlin等[16]提出了最小均值交叉熵的概念,作为一种将来自多个频谱图的信息最优组合成一个单一函数的手段,在模拟信号和实际信号测试中获得了较高的时频分辨率。

探地雷达信号s(t)的时频谱的平方定义为:

|S(t,f)|2=|-s(t)h(τ-t)e-j2πfτdt|2,

式中:h(τ-t)是一个随时间滑动的窗函数;f为频率;t为时间;τ为时间延迟。考虑给定信号s(t)的一组有限频谱图{|Si(t,f)|2:i∈(1,2,…,N),N≥2},其中的每一个频谱图都是通过应用不同的窗函数计算得出的。

假设MMCE(t,f)是来自所有正函数集合P(t,f)中最接近N个频谱图集合的函数,要求MMCE(t,f)这个函数的总能量等于给定信号的总能量,其数学表达式为:

MMCE(t,f)=argminP(t,f)1Ni=1N--P(t,f)·lgP(t,f)|Si(t,f)|2dtdf

可以通过约束优化求解获得式(6)中的P(t,f),其表达式为

P(t,f)=b-(1+λ)i=1N|Si(t,f)|2/N,

式中:b为对数的基数;λ是一个待定的标量常数,被称为拉格朗日乘数。详细的推导过程可以参考文献[16,19]。

MMCE方法实质上等同于将宽波段和窄波段频谱图结合起来,这种频谱图的组合方式在最小均值交叉熵的意义上是最优的。该算法可以通过时频分析工具箱中的tfrmmce函数来实现。

1.3 算法实现

TFPF-MMCE算法将交叉熵函数与时频峰值滤波技术相结合,通过最小化预测信号与原始信号之间的交叉熵时频分布差异来调整滤波参数,其流程如图1所示。

图1

图1   TFPF-MMCE算法流程

Fig.1   TFPF-MMCE algorithm flow chart


1)编码过程:通过式(2)将输入的探地雷达信号转换为解析信号。

2)优化计算:利用式(6)进行优化计算。笔者系统测试了不同时窗长度,时窗长度按照最小值为5、步长为2、最大值为33,测试出11、13、15的窗长效果比较佳。在后续实验中,默认时窗长度为15来计算解析信号的MMCE,从而获得最优的时频分布。此步骤中,所有计算均在无噪声信号下进行,以确保优化结果的准确性。

3)瞬时频率估计:在获得MMCE时频分布之后,根据式(4)对每一时间点的频率进行扫描。通过比较不同频率下的时频分布值,提取出每个时间点的最大值,作为该时间点的瞬时频率估计并提取最大值作为信号的瞬时频率估计。

4)信号重构:基于上一步骤中获得的瞬时频率最大值,采用式(7)进行信号的重构。此过程中,式(7)中的参数bλ对信号重构质量至关重要。为了获得最佳的重构效果,通过大量测试发现,当b=0.5、λ=0时,能够取得最优的去噪性能。

1.4 评价指标

去噪效果的评价指标通常用于衡量去噪算法对信号质量改善的程度,本文利用均方根误差(RMSE)、峰值信噪比(PSNR)作为去噪评价指标。

RMSE是衡量去噪后信号与原始信号之间差异大小的常用指标,RMSE越小模型拟合效果越好,其计算公式为

RMSE=1Ni=1N(y^i-yi)2,

式中:N为样本总数;y^i为预测值;yi为真实值。

峰值信噪比是信号最大功率与噪声功率之比的对数形式,但通常使用信号可能达到的最大值进行计算,PSNR越大,表明去噪效果越好,其计算公式为

PSNR=20·lgymax1Ni=1N(y^i-yi)2

式中:ymaxyi中的最大绝对值。

2 应用实例

2.1 实验设计

为了全面验证本文所提出的基于最小均值交叉熵的时频峰值滤波方法的有效性和实用性,设计了模拟信号与实测信号两组实验,将本文提出的方法与传统的频率峰值滤波方法进行了深入的对比分析。对于模拟探地雷达信号部分,采用了GprMax软件包进行正演模拟,生成了包含不同信噪比条件下的目标反射波和噪声的信号,以确保实验的多样性和复杂性。实测实验选用探地雷达SIR-3000仪器,配备400 MHz天线,在校园内进行了实地数据采集,以获取真实环境下的探地雷达信号。

2.2 模拟信号实验

正演模拟采用GprMax软件进行,该软件基于时域有限差分法(FDTD),能够模拟电磁波在多种媒质中的传播。FDTD算法将Maxwell方程组化为一组电场和磁场分量的偏微分方程,然后利用差分形式求解,得到微分方程解的近似值。在GprMax中,FDTD算法被用于模拟探地雷达电磁波在地下介质中的传播,并采用完全匹配层吸收边界的反射波,从而降低边界的影响。

设计一个含地下空洞的三层模型,参数如图2a所示。采用GprMax软件进行二维探地雷达正演模拟,结果显示探地雷达波在空洞边界产生强烈的反射和绕射,形成明显的绕射双曲线(图2b)。

图2

图2   探地雷达地质模型及其正演记录

Fig.2   Ground-penetrating radar geological model and corresponding forward modeling records


为了验证本文所提的滤波方法去噪效果,首先将探地雷达正演记录中加入高斯白噪声。以图2b中的第46道为例(图3),当添加的高斯白噪声信噪比为10 dB时,探地雷达信号部分形成强的毛刺现象,部分地下空洞反射的有效信号(150 ns附近)甚至被掩盖,对信号造成较大损害,这表明高斯白噪声对有效回波的识别产生了严重影响。

图3

图3   第46道探地雷达加噪声信号

Fig.3   The 46th ground-penetrating radar signal with added noise


按照时频峰值滤波的处理步骤,采用传统的TFPF-PWV及TFPF-MMCE方法分别对探地雷达信号进行去噪处理,评价其去噪效果。从图4a中可以看出,处理后的探地雷达信号中随机噪声得到压制,处理前记录中许多不明显的同相轴得到恢复,说明TFPF-PWV方法在处理探地雷达信号时,展现出了其强大的能力,能够有效地识别并去除与有效信号不相关的噪声成分,同时恢复了信号中的有效信息,从而显著提高了信号的清晰度。然而,需要注意的是,在处理后的信号中,部分区域仍然出现了毛刺现象,这表明去噪后的信号与原始信号并未达到完全一致。而图4b显示,TFPF-MMCE方法在保留TF- PF-PWV方法优点的基础上,进一步减少了去噪后的信号与原始信号之间的差异,取得了更好的去噪和信号恢复的效果。对局部区域进行放大显示,可以清晰地看出经本文的去噪方法处理后的信号与原始数据基本一致,去噪效果更为显著。

图4

图4   2种方法的时频峰值滤波去噪效果对比

Fig.4   Comparison of denoising results between TFPF-PWV and TFPF-MMEC


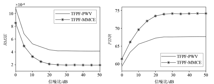
为了对比TFPF-PWV和TFPF-MMCE两种方法的抗噪性能,在第46道正演信号中添加了不同信噪比的噪声,并利用RMSEPSNR作为量化评估指标(图5)。图5a显示:随着信噪比增大,RMSE值逐渐减少,表明信噪比增高,其对信号的影响逐渐降低;在相同信噪比条件下,TFPF-MMCE方法的RMSE始终低于TFPF-PWV,说明前者的去噪效果更佳。图5b则显示PSNR随着信噪比增大而增大,且同样地在相同信噪比条件下,TFPF-MMCE的PSNR均高于TFPF-PWV,进一步验证了其更优的去噪性能。实验结果显示,在不同信噪比条件下,TFPF-MMCE方法均表现出更低的RMSE和更高的PSNR,表明其抗噪能力更强。

图5

图5   不同信噪比下的RMSE和PSNR

Fig.5   RMSE values and PSNR values under different signal-to-noise ratios


为了进一步验证TFPF-MMCE方法的优越性,在第46道正演信号中加入了10 dB的噪声,设置了与TFPF-PWV、双边滤波、FIR滤波、均值滤波以及小波变换的对比实验,通过计算,得到了各方法的RMSEPSNR指标参数(表1)。从结果中可以看出:TFPF-MMCE在所有对比方法中展现出了最低的RMSE和最高的PSNR。这直观地验证了TFPF-MMCE在探地雷达信号去噪效果上具有更好的效果,其性能在本次实验中超越了包括TFPF-PWV、双边滤波、FIR滤波、均值滤波以及小波变换在内的其他方法。

表1   多种方法去噪效果对比

Table 1  Comparison of denoising effects among many methods

去噪方法RMSE/10-4PSNR
TFPF-PWV5.3765.38
TFPF-MMCE3.2469.78
双边滤波3.7468.55
FIR滤波7.5162.48
均值滤波3.8368.34
小波变换3.3269.56

新窗口打开| 下载CSV


2.3 实际探测数据实验

本次实验使用SIR-3000探地雷达仪器及400 MHz天线,在校园内采集实地数据,原始剖面如图6a所示。图中第50道、30 ns位置的双曲线形状,结合实地情况,判断为地下空洞(干水渠)的反射信号。然而,环境等因素导致信号中夹杂较强的干扰噪声,影响异常体的识别。

图6

图6   实测探地雷达时频峰值滤波效果

Fig.6   Time-frequency peak filtering effect of ground-penetrating radar


为了提升信号质量,采用了TFPF-PWV和TFPF-MMCE两种方法去噪,结果见图6b、c。可以明显看出:滤波处理后,记录中的较强随机噪声带被有效去除,信号扰动得到抑制,整体记录面貌明显改善。比较滤波前后的记录,可以清晰地看到时频峰值滤波显著压制了随机噪声,使有效信息更加突出,双曲线也更容易识别。其中,TFPF-MMCE方法在处理过程中展表出了更为显著的优势,有效提升了探地雷达信号的处理效果。

图6中,探地雷达信号的直达波干扰了目标层双曲线识别。为了削弱直达波的影响,对其进行了去除处理(图7a),随后采用TFPF-MMCE方法去噪(图7b),并给出了去噪前的残差剖面(图7c)。图中可见:采用TFPF-MMCE方法处理后,信号质量显著提高,信噪比明显增加,地下目标的反射特征更清晰,这有助于确定地面下空洞位置及异常区域;残差剖面显示去除的主要是以随机噪声为主,证明了TFPF-MMCE方法在抑制随机噪声方面的有效性。

图7

图7   消除直达波后的时频峰值滤波效果

Fig.7   Time-frequency peak filtering effect after eliminating the direct wave


3 结论

1)本文所提出的TFPF-MMCE方法,结合时频峰值滤波与交叉熵函数,可优化滤波参数,精确估计信号瞬时频率,有效抑制探地雷达信号中的随机噪声,提升信号质量。

2)与传统的去噪方法相比, TFPF-MMCE在不同信噪比条件下均展现出优势,RMSEPSNR指标表明其具备稳定的去噪性能。

3)模拟和实测的实验结果进一步证实了TFPF-MMCE方法在探地雷达信号去噪中的实用性,该方法能够增强地下目标反射特征,更好地精确判定地下异常区域,为工程勘察等领域提供新手段。下一步将继续优化TFPF-MMCE算法,拓展其应用领域,进一步提升处理效果与实用价值。

参考文献

冯垣, 曾昭发, 刘四新, . 探地雷达信号处理[M]. 北京: 科学出版社, 2014.

[本文引用: 1]

Feng Y, Zeng Z F, Liu S X, et al. Ground-penetrating radar signal processing[M]. Beijing: Science Press, 2014.

[本文引用: 1]

杨林.

探地雷达铁路轨枕干扰特性分析

[J]. 物探化探计算技术, 2024, 46(4):453-461.

[本文引用: 1]

Yang L.

Analysis of interference characteristics of ground penetrating radar railway sleepers

[J]. Computing Techniques for Geophysical and Geochemical Exploration, 2024, 46(4):453-461.

[本文引用: 1]

张斯薇, 吴荣新, 韩子傲, .

双边滤波在探地雷达数据去噪处理中的应用

[J]. 物探与化探, 2021, 45(2):496-501.

[本文引用: 1]

Zhang S W, Wu R X, Han Z A, et al.

The application of bilateral filtering to denoise processing of ground penetrating radar data

[J]. Geophysical and Geochemical Exploration, 2021, 45(2):496-501.

[本文引用: 1]

张先武, 高云泽, 方广有.

带有低通滤波的广义S变换在探地雷达层位识别中的应用

[J]. 地球物理学报, 2013, 56(1):309-316.

[本文引用: 1]

Zhang X W, Gao Y Z, Fang G Y.

Application of generalized S transform with lowpass filtering to layer recognition of Ground Penetrating Radar

[J]. Chinese Journal of Geophysics, 2013, 56(1):309-316.

[本文引用: 1]

黄敏, 朱德兵, 郭政学, .

连续小波变换在探地雷达信号分析中的应用研究

[J]. 物探化探计算技术, 2012, 34(5):593-598,503.

[本文引用: 1]

Huang M, Zhu D B, Guo Z X, et al.

Research on the application of continuous wavelet transform in gpr signal analysis

[J]. Computing Techniques for Geophysical and Geochemical Exploration, 2012, 34(5):593-598,503.

[本文引用: 1]

Javadi M, Ghasemzadeh H.

Wavelet analysis for ground penetrating radar applications:A case study

[J]. Journal of Geophysics and Engineering, 2017, 14(5):1189-1202.

[本文引用: 1]

Xu J C, Ren Q, Shen Z Z.

Ground-penetrating radar time-frequency analysis method based on synchrosqueezing wavelet transformation

[J]. Journal of Vibroengineering, 2016, 18:315-323.

[本文引用: 1]

吴楠, 吴舰, 吴志坚.

探地雷达信号消噪中的时频谱分解重排算法

[J]. 物探与化探, 2018, 42(1):220-224.

[本文引用: 1]

Wu N, Wu J, Wu Z J.

Research on denoising of ground penetrating radar signals using the time-frequency spectral decomposition reassignment algorithm

[J]. Geophysical and Geochemical Exploration, 2018, 42(1):220-224.

[本文引用: 1]

余世为, 牛刚, 覃晖, .

隧道超前地质预报溶洞探地雷达数据时频分析

[J]. 工程勘察, 2023, 51(10):67-72.

[本文引用: 1]

Yu S W, Niu G, Qin H, et al.

Time and frequency analysis of GPR data for tunnel geological forecast of Karst caves

[J]. Geotechnical Investigation & Surveying, 2023, 51(10):67-72.

[本文引用: 1]

Li J, Zhao X L, Cheng H, et al.

Data augmentation and denoising of magnetotelluric signals based on CS-ResNet

[J]. Geophysics, 2025, 90(3):WA31-WA46.

[本文引用: 1]

李月, 杨宝俊, 林红波, .

地震资料中随机强噪声压制——时频峰值滤波

[J]. 中国科学:地球科学, 2013, 43(7):1123-1131.

[本文引用: 1]

Li Y, Yang B J, Lin H B, et al.

Suppression of strong random noise in seismic data by using time-frequency peak filtering

[J]. Scientia Sinica:Terrae, 2013, 43(7):1123-1131.

[本文引用: 1]

林红波, 马海涛, 李月, .

基于SW统计量的自适应时频峰值滤波压制地震勘探随机噪声研究

[J]. 地球物理学报, 2015, 58(12):4559-4567.

DOI:10.6038/cjg20151218      [本文引用: 2]

由于金属矿区地震记录中随机噪声性质复杂且信噪比低,常规降噪方法难以达到预期的滤波效果.时频峰值滤波(TFPF)方法是实现低信噪比地震勘探记录中随机噪声压制的有效方法,但其在复杂地震勘探随机噪声下时窗参数优化问题仍难以解决.本文充分利用地震勘探噪声的统计特性,结合Shapiro-Wilk(SW)统计量辨识地震勘探记录中的微弱有效信号,提出基于SW统计量的自适应时频峰值滤波降噪方法(S-TFPF).在S-TFPF方案中,对于有效信号集中区,S-TFPF方法根据信号频率特征,选择有利于信号保持的较短时窗长度;对于噪声集中区,按噪声方差自适应增加时窗长度,增强随机噪声压制能力.S-TFPF应用于合成记录和共炮点记录的滤波结果表明,与传统时频峰值滤波方法相比,S-TFPF方法可以有效抑制低信噪比地震勘探记录中的随机噪声,更好地恢复出同相轴.

Lin H B, Ma H T, Li Y, et al.

Elimination of seismic random noise based on the SW statistic adaptive TFPF

[J]. Chinese Journal of Geophysics, 2015, 58(12):4559-4567.

[本文引用: 2]

Liu Y, Peng Z, Wang Y, et al.

Seismic noise attenuation by time-frequency peak filtering based on Born-Jordan distribution

[J]. Journal of Seismic Exploration, 2018, 27(6):557-575.

[本文引用: 1]

Liu N H, Yang Y, Li Z, et al.

Seismic signal de-noising using time-frequency peak filtering based on empirical wavelet transform

[J]. Acta Geophysica, 2020, 68(2):425-434.

[本文引用: 1]

Boashash B, Mesbah M.

Signal enhancement by time-frequency peak filtering

[J]. IEEE Transactions on Signal Processing, 2004, 52(4):929-937.

[本文引用: 1]

Loughlin P, Pitton J, Hannaford B.

Approximating time-frequency density functions via optimal combinations of spectrograms

[J]. IEEE Signal Processing Letters, 1994, 1(12):199-202.

[本文引用: 3]

Groutage D.

A fast algorithm for computing minimum cross-entropy positive time-frequency distributions

[J]. IEEE Transactions on Signal Processing, 1997, 45(8):1954-1970.

[本文引用: 1]

Shah S I, Loughlin P J, Chaparro L F, et al.

Informative priors for minimum cross-entropy positive time-frequency distributions

[J]. IEEE Signal Processing Letters, 1997, 4(6):176-177.

[本文引用: 1]

Aviyente S, Williams W J.

Minimum entropy time-frequency distributions

[J]. IEEE Signal Processing Letters, 2005, 12(1):37-40.

[本文引用: 2]

Moca V V, Bârzan H, Nagy-Dăbâcan A, et al.

Time-frequency super-resolution with superlets

[J]. Nature Communications, 2021, 12(1):337.

DOI:10.1038/s41467-020-20539-9      PMID:33436585      [本文引用: 1]

Due to the Heisenberg-Gabor uncertainty principle, finite oscillation transients are difficult to localize simultaneously in both time and frequency. Classical estimators, like the short-time Fourier transform or the continuous-wavelet transform optimize either temporal or frequency resolution, or find a suboptimal tradeoff. Here, we introduce a spectral estimator enabling time-frequency super-resolution, called superlet, that uses sets of wavelets with increasingly constrained bandwidth. These are combined geometrically in order to maintain the good temporal resolution of single wavelets and gain frequency resolution in upper bands. The normalization of wavelets in the set facilitates exploration of data with scale-free, fractal nature, containing oscillation packets that are self-similar across frequencies. Superlets perform well on synthetic data and brain signals recorded in humans and rodents, resolving high frequency bursts with excellent precision. Importantly, they can reveal fast transient oscillation events in single trials that may be hidden in the averaged time-frequency spectrum by other methods.

/

京ICP备05055290号-3
版权所有 © 2021《物探与化探》编辑部
通讯地址:北京市学院路29号航遥中心 邮编:100083
电话:010-62060192;62060193 E-mail:whtbjb@sina.com , whtbjb@163.com