最小均值交叉熵的时频峰值滤波在探地雷达信号去噪中的应用 |
| 郑伟, 田仁飞, 高雨含, 武斌 |
|
Application of time-frequency peak filtering with minimum mean cross-entropy in ground penetrating radar signal denoising |
| ZHENG Wei, TIAN Ren-Fei, GAO Yu-Han, WU Bin |
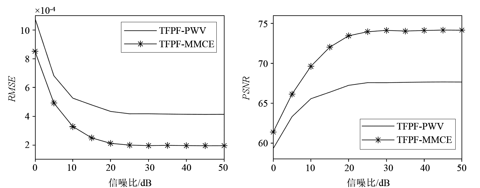
| 图5 不同信噪比下的RMSE和PSNR |
| Fig.5 RMSE values and PSNR values under different signal-to-noise ratios |
|