地下电缆的探地雷达图像特征与识别技术 |
| 李靖翔, 赵明, 赖皓, 熊双成, 唐阳 |
|
Imaging detection and recognition technology of underground cable based on ground penetrating radar |
| LI Jing-Xiang, ZHAO Ming, LAI Hao, XIONG Shuang-Cheng, TANG Yang |
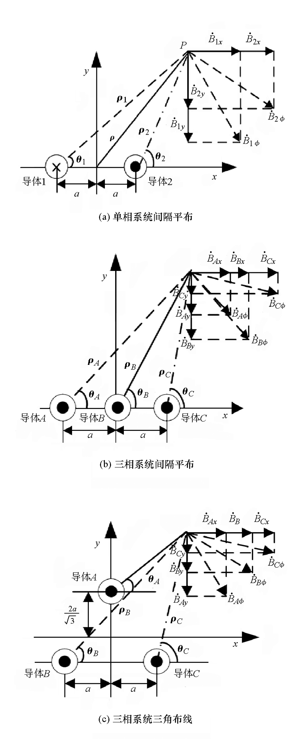
| 图2 电缆磁场辐射示意 |
| Fig.2 The schematic diagram of cable magnetic field radiation |
|